XFD系列浮选机广泛用于地质、冶金、建材、矿业、化工等科研部门实验使用。
用途实验室XFD系列浮选机
实验室用XFD型系列单槽式浮选机供地质、冶金、建筑材料、化学等工业实验室浮选少量矿样用。
主要技术参数:
序号 |
技术参数 |
单位 |
数值 |
||||||
XFD-0.5 |
XFD-0.75 |
XFD-1 |
XFD-1.5 |
XFD-3 |
XFD-8 |
||||
1 |
浮选槽容积 |
L |
0.5 |
0.75 |
1 |
1.5 |
3 |
8 |
|
2 |
叶轮直径 |
MM |
φ45 |
φ45 |
φ55 |
φ60 |
φ70 |
φ80 |
|
3 |
叶轮转速 |
Ⅰ |
转/分 |
2590 |
2590 |
2100 |
1910 |
1890 |
1400 |
Ⅱ |
2340 |
2340 |
1900 |
1750 |
1708 |
1400 |
|||
Ⅲ |
2130 |
2130 |
1700 |
1590 |
1544 |
1400 |
|||
5 |
给料粒度 |
MM |
-0.2 |
-0.2 |
-0.2 |
-0.2 |
-0.2 |
-0.2 |
|
6 |
电机 |
W |
2800转/分 180 |
6324 1410转/分 250 |
|||||
7 |
电压 |
V |
380 |
380 |
380 |
380 |
380 |
380 |
|
8 |
外型尺寸 |
长 |
520 |
520 |
520 |
560 |
570 |
380 |
|
宽 |
263 |
263 |
263 |
265 |
310 |
505 |
|||
高 |
628 |
628 |
628 |
590 |
668 |
970 |
|||
9 |
重量 |
kg |
30 |
30 |
35 |
40 |
50 |
80 |
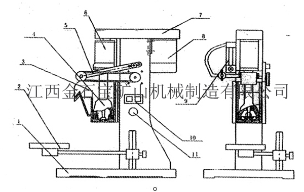
产品结构简介实验室XFD系列浮选机
XFD型系列浮选机由下列主要部件组成:
(1) 机座(2)托板(3)槽体(4)搅拌部(5)刮板部分(6)主轴部分(7)护罩(8)电机(9)流量计(10)控制开关(11)刮板开关
所有部件都紧固在机体上,主轴按顺时针方向转动,通过不同皮带槽主轴产生三种不同的速度;刮板的转动由刮板电动机通过皮带轮带动,刮板的位置可通过蝶形螺母调节高低。